招标采购流程及相关表格.docVIP免费

招标采购流程及相关表格.doc_第1页
招标采购流程及相关表格.doc_第2页
招标采购流程及相关表格.doc_第3页
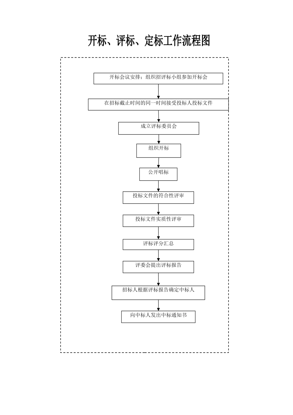
使用部门提出招标计划明确招标要求招标采购部汇总使用部门计划编制招采工作计划编制招标文件实施部门、运营中心对招标文件会签发出招标邀请书和资格预审文件组织招标小组成员对投标商进行资格预审组织招标小组成员对投标商进行考察编制招标答疑会议纪要并组织汇签组织投标人现场踏勘向资格预审合格的投标商发出通过确认文件对通过资格预审的投标商出售招标文件组织相关人员和部门召开招标答疑会投标人缴纳图纸抵押金后发出投标...

1、当您付费下载文档后,您只拥有了使用权限,并不意味着购买了版权,文档只能用于自身使用,不得用于其他商业用途(如转卖或编辑后售卖)。
2、本站所有内容均由合作方或网友上传,本站不对文档的完整性、权威性及其观点立场正确性做任何保证或承诺!文档内容仅供研究参考,付费前请自行鉴别。
3、如文档内容存在违规,或者侵犯商业秘密、侵犯著作权等,请点击“违规举报”。

Q1.我下载的文件找不到了?

A.Windows电脑快捷键“Ctrl+j”,苹果(Mac)电脑按(“⌘+j”),(几乎适用所有的浏览器)。点击相应的快捷键后看电脑屏幕右上角!

聪慧造价库
实名认证
内容提供者

全国各城市信息价、造价指标、文件汇编、清单、定额、工程图集、规范、合同范本、造价案例文件等资料下载。助力每一个工程人和造价从业者!

确认删除?
回到顶部
VIP会员
开店赚钱
分销赚钱
客服微信
  • 问题、需求、建议 扫码添加微信客服
咨询电话
加QQ群
  • 造价交流群点击这里加入QQ群